油井试油并确认具有工业开采价值后,如何最大限度地将地下原油开采到地面上来,实现合理、高产、稳产,选择合适的采油工艺方法和方式十分重要。目前,常用的采油方法有自喷采油和机械采油(见图5-1)。

图5-1 采油方法分类
一、自喷采油
依靠油层自身能量,将石油从油层驱入井底,并由井底举升到地面,这样的生产方式称自喷采油。依靠自喷方法生产的油井称为自喷井。自喷井地面设备简单、操作方便,产量较高,采油速度快,经济效益好。
(一)自喷井采油原理
1.原理油井之所以能够自喷是由于地层能量充足。地层能量的高低就反映在油层压力的高低。当地层打开之后,原油在较高的地层压力作用下,从地层深部向井底流动,克服了地层的渗滤阻力,剩余后的压力是井底压力。原油在井底压力作用下,沿着井筒从井底流到井口,同时溶解在原油中的天然气开始分离出来,气体也会成为举升原油的能量。
2.自喷井的四种流动过程
自喷油流从油层流到地面转油站可以分为四个基本流动过程——地层渗流、井筒多相管流、嘴流、水平管流,如图5-2所示。
(1)地层渗流:从油层流入井底,流体是在多孔介质中渗流,故称渗流。如果井底压力大于饱和压力,为单相渗流;如果井底压力小于饱和压力,为多相渗流。在渗流过程中,压力损失约占总压降的10%~15%。
(2)井筒多相管流:即垂直管流,从井底到井口,流体在油管中上升,一般在油管某断面处压力已低于饱和压力,故属于油、气或油、气、水多相流。垂直管流压力损失最大,占总压降的30%~80%。
(3)嘴流:通过油嘴的流体称为嘴流。嘴流流速较高,其压力损失占总压降的5%~30%。
(4)水平管流:流体进入出油管线后,沿地面管线流动,属多相水平管流。水平管流压力损失一般占总压降的5%~10%。

图5-2 自喷井的四种流动过程
1—地层渗流;2—井筒多相管流;3—嘴流;4—水平管流
四个流动过程之间既相互联系又相互制约,同处于一个动力系统。从油层流到井底的剩余压力称井底压力(井底流动压力)。对某一油层来说,在一定的开采阶段,油层压力稳定于某一数值不变,这时井底压力变大,油井的产出量就会减少;井底压力变小,则油井产量就会增加。可见,在油层渗流阶段,井底压力是阻力,而对垂直管流阶段,井底压力是把油气举出地面的动力。把油气推举到井口后剩余的压力称为井口油管压力。井口油管压力对油气在井内垂直管流来说是一个阻力,而对嘴流来说又是动力。
3.垂直管流中的能量来源与消耗
由于压力损失主要消耗在垂直管流中,下面重点介绍垂直管流。
1)单相垂直管流
当油井的井口压力大于原油的饱和压力时,井中为单相原油。流出井口后压力低于饱和压力时,天然气才从原油中分离出来,这样的油井属于单相垂直管流。
单相垂直管流的能量来源是井底流动压力。能量主要消耗在克服相当于井深的液柱压力,及液体从井底流到井口过程中垂直管壁间的摩擦阻力。所以,单相垂直管流中,能量的供给与消耗关系可用下列压力平衡式表示:
pf=pH+pfr+pwh
式中 pf——井底流动压力;
pH——液柱压力;
pfr——摩擦阻力;
pwh——井口压力。
2)多相垂直管流
当井底流动压力低于饱和压力时,则油气一起进入井底,整个油管为油气两相。当井底流动压力高于饱和压力,但井口压力低于饱和压力时,则油中溶解的天然气在井筒中某一高度上,即饱和压力点的地方开始分离出来,井中存在两个相区,下面是单相区,上面是两相区。在两相区,气体从油中分离出来并膨胀,不断释放出气体弹性膨胀能量,参与举升。因此,多相垂直管流中能量的来源,一是进入井底的液气所具有的压能(即流压);二是随同油流进入井底的自由气及举升过程中从油中分离出来的天然气所表现的气体膨胀能。气体的膨胀能是通过两种方式来利用的:一种是气体作用于液体上,垂直推举液体上升;另一种是靠气体与液体之间的摩擦作用,携带液体上升。
(二)自喷井采油设备
自喷采油设备包括井口设备和地面流程设备。
1.井口设备
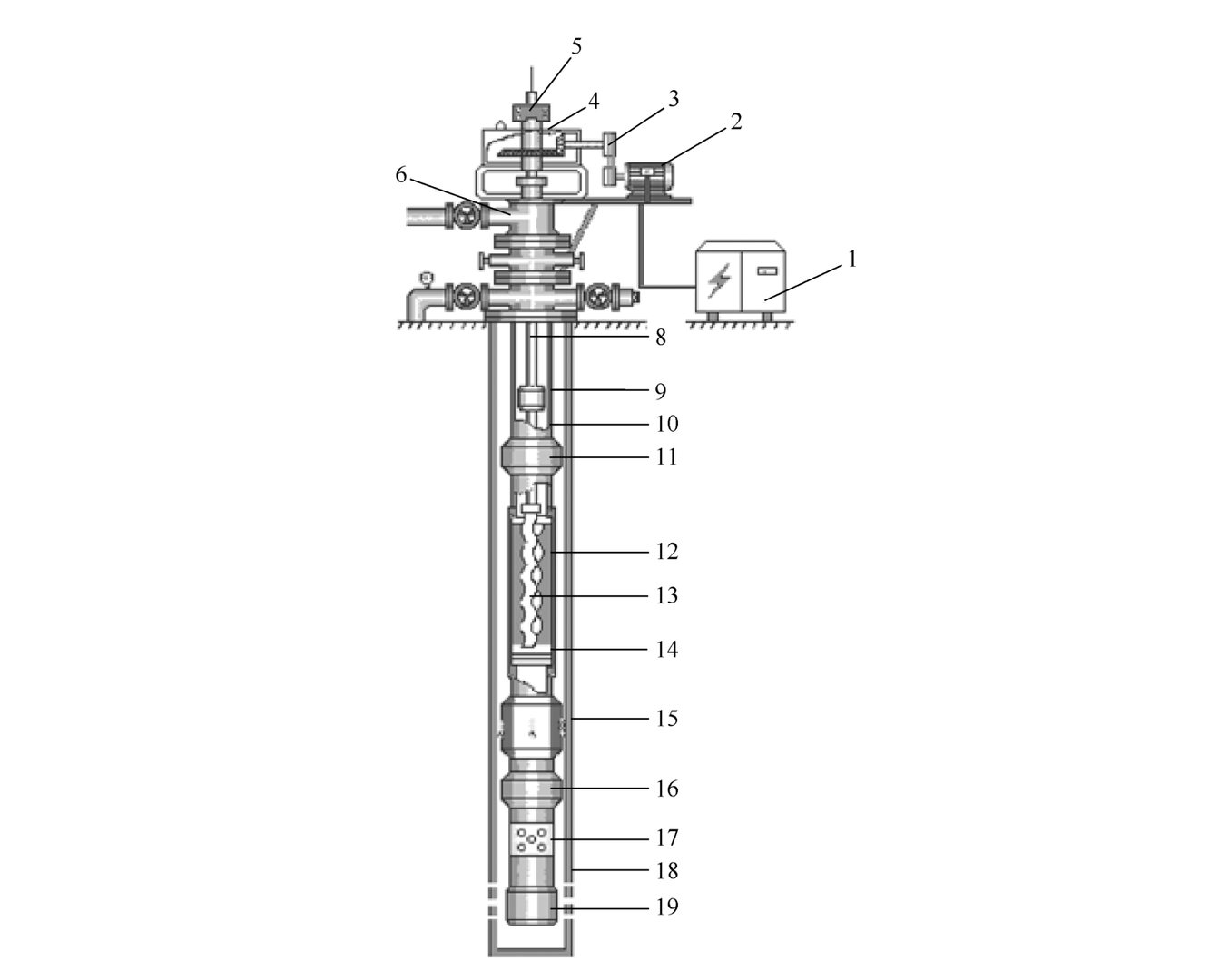
自喷井井口装置从下到上依次是套管头、油管头和采油树三部分,如图5-3所示。自喷井的井口设备是其他各类采油井的基础设备,其他采油方式的井口装置都是以此为基础。

图5-3 自喷井井口结构图
1—清蜡闸门;2—生产闸门;3—油管头四通;4—总闸门;5—套管四通;6—套管闸门;7—回压闸门;8—防喷管;9—油嘴套;10—油压表;11—回压表;12—套压表;13—单流阀;14—套管头;15—取样阀门;16—油管头
1)套管头
套管头在井口装置的下端,是连接套管和各种井口装置的一种部件,由本体、套管悬挂器和密封组件组成。其作用是支持技术套管和油层套管的重力,密封各层套管间的环形空间,为安装防喷器、油管头和采油树等上部井口装置提供过渡连接,并通过套管头本体上的两个侧口可以进行补挤水泥、监控井液和平衡液等作业。
2)油管头
油管头安装于采油树和套管头之间,其上法兰平面为计算油补距和井深数据的基准面。其作用是支撑井内油管的重力;与油管悬挂器配合密封油管和套管的环形空间;为下接套管头、上接采油树提供过渡;并通过油管头四通体上的两个侧口(接套管阀门),完成注平衡液及洗井等作业。
3)采油树
采油树是指油管头以上的部分,连接方式有法兰式和卡箍式。采油树的作用是控制和调节油井生产,引导从井中喷出的油气进入出油管线,实现下井工具仪器的起下等。
采油树的主要组成部件及附件的作用如下:
(1)总闸门:安装在油管头的上面,用于控制油气流入采油树的通道,因此,在正常生产时它都是全开的,只有在需要长期关井或其他情况下才关闭。
(2)油管四通(或三通):其上下分别与清蜡闸门和总闸门相连,两侧(或一侧)与生产闸门相连。它既是连接部件,也是油气流出和下井仪器的通道。
(3)生产闸门:安装在油管四通或三通的两侧,其作用是控制油气流向出油管线。正常生产时,生产闸门总是打开的,在更换检查油嘴或油井停产时才关闭。
(4)清蜡闸门:安装在采油树最上端的一个闸门。正常生产时保持开启状态以便观察油管压力,它的上面可连接清蜡或试井用的防喷管,清蜡或试井时打开,清蜡或试井后关闭。
(5)套管四通:其上面与总阀门相通,下部连接套管头,左右与套管闸门相连。它是油管套管汇集分流的主要部件。通过它密封油套环空、油套分流。外部是套管压力,内部是油管压力。
(6)回压闸门:安装在油嘴后的出油管线上,在检查和更换油嘴以及维修生产闸门及修井作业时关闭,以防止出油管线内的流体倒流,有的油井在此位置上装了一个单流阀代替了回压闸门。
(7)防喷管:防喷管是用φ63mm(2.5in)油管制成,外部套φ89mm(3.5in)管,环空内循环蒸汽或热水(油)保温(不保温循环的就不用外套),在自喷井中有两个作用:一是在清蜡前后起下清蜡工具及溶化刮蜡片带上来的蜡;二是各种测试、试井时的工具起下。
(8)单流阀:防止流出井口原油倒流回井筒。
2.地面流程主要设备
一般来说,自喷井井口地面流程都安装一套能够控制、调节油气产量的采油树;还有对油井产物和井口设备加热保温的一套装置,以及计量油气产量的装置,主要包括加热炉、油气分离器、高压离心泵及地面管线等。这一系列流程设备对其他采油方式也具有通用性。
二、机械采油
在油田开发过程中,由于油层本身压力就很低,或由于开发一段时间后油层压力下降,使油井不能自喷或不能保持自喷,有时虽能自喷但产量很低,必须借助人为能量进行采油,即利用一定的机械设备(地面和井下)将井中油气采至地面的方法。机械采油可分为有杆泵采油和无杆泵采油两大类。
(一)有杆泵采油
有杆泵采油装置包括游梁式抽油机—深井泵装置和地面驱动螺杆泵抽油装置。
1.游梁式抽油机—深井泵装置
1)游梁式抽油机
游梁式抽油机结构见图5-4。它是有杆泵采油的主要地面机械传动装置。它和抽油杆、深井泵配合使用,能将原油抽到地面。使用抽油装置的油井通常称为“抽油井”。抽油机的工作特点是连续运转、长年在野外、无人值守。因此,对抽油机的要求应当是强度高、使用寿命长、有一定的超载能力、安装维修简单、适应性强。

图5-4 游梁式抽油机结构图
1—悬蝇器;2—毛辫子;3—驴头;4—游梁;5—支架轴;6—横梁轴;7—横梁;8—连杆;9—平衡块;10—曲柄;11—大皮带轮;12—皮带;13—电动机;14—输入轴;15—输出轴;16—曲柄销;17—支架;18—底座;19—光杆
(1)主要部件的作用。
①驴头:装在游梁的前端,其作用是保证抽油时光杆始终对准井口中心位置。驴头的弧线是以支架轴承为圆心、游梁前臂长为半径画弧而得到的。
②游梁:游梁固定在支架上,前端安装驴头承受井下负荷,后端连接连杆、曲柄、减速箱传送电动机的动力。
③曲柄—连杆机构:它的作用是将电动机的旋转运动变成驴头的上下往复运动。在曲柄上有4~8个孔,是调节冲程时用的。
④减速箱:它的作用是将电动机的高速旋转运动变成曲柄轴的低速转动,同时支撑平衡块。
⑤平衡块:平衡块装在抽油机游梁尾部或曲柄轴上。它的作用是:当抽油机上冲程时,平衡块向下运动,帮助克服驴头上的负荷;在下冲程时,电动机使平衡块向上运动,储存能量。在平衡块的作用下,可以减少抽油机上下冲程的负荷差别。
⑥悬绳器:它是连接光杆和驴头的柔性连接件,还可以供动力仪测示功图用。
(2)工作原理。
电动机将其高速旋转运动通过皮带和减速箱传给曲柄轴,并带动曲柄轴作低速旋转运动;曲柄又通过连杆经横梁带动游梁上下摆动。游梁前端装有驴头,挂在驴头上的悬绳器便带动抽油杆作上下垂直往复运动,抽油杆带动活塞运动,从而将原油抽出井筒。
2)深井泵
深井泵是油井的核心抽油设备,它是通过抽油杆和油管下到井中并沉没在液面以下一定深度,靠抽吸作用将原油送到地面。
深井泵主要由工作筒(包括外筒和衬套)、活塞、游动阀(排出阀)及固定阀(吸入阀)组成,其工作原理见图5-5。

图5-5 泵的工作原理图
1—排出阀;2—活塞;3—衬套;4—吸入阀
上冲程:驴头上行,抽油杆柱带着活塞上行,活塞上的游动阀受内液柱的压力而关闭。如管内已经充满液体,则将在井口排出相当于活塞冲程长度的一段液体。与此同时,活塞下面泵筒内的压力降低,当泵内压力低于沉没压力(环行空间液柱压力)时,在沉没压力的作用下固定阀被打开,原油进入泵内占据活塞所让出的体积,如图5-5(a)所示。
下冲程:驴头下行,抽油杆柱带着活塞向下运动,吸入泵内的液体受压,泵内压力升高。当此压力与环形空间液柱压力相等时,固定阀靠自重而关闭。在活塞继续下行中,泵内压力继续升高,当泵内压力超过活塞以上液柱压力时,游动阀被顶开,活塞下部的液体通过游动阀进入上部油管中,即液体从泵中排出,如图5-5(b)所示。
3)抽油杆及井口装置
(1)抽油杆。
抽油杆是抽油装置的重要组成部分,它上连抽油机,下接深井泵,起中间传递动力的作用。抽油杆的工作过程中受到多种载荷的作用,且上下运动过程中受力极不均匀,上行时受力大,下行时受力小。这样一大一小反复作用的结果,很容易使金属疲劳,使抽油杆产生断裂。因此,要求抽油杆强度高、耐磨、耐疲劳。
抽油杆一般是由实心圆形钢材制成的杆件。两端均有加粗的锻头,下面有连接螺纹和搭扳手用的方形断面。抽油杆柱最上面的一根抽油杆称为光杆。光杆与井口密封填料盒配合使用,起密封井口的作用。
(2)井口装置。
抽油井井口装置和自喷井相似,承受压力较低。它主要由套管四通(或套管三通)、油管四通(或油管三通)、胶皮闸门和光杆密封段(或密封填料盒)组成,其他附件的多少及连接方法,视各油田的具体情况而定。但无论采取什么形式,抽油井井口装置必须具备能测示功图、动液面,能取样、观察压力等功能,并且要方便操作和管理。图5-6是抽油井掺水井口装置。

图5-6 抽油机掺水井口装置
1—胶皮闸门;2—油管放空阀门;3—总闸门;4—套管测试闸门;5—套管闸门;6—回压闸门;7—直通阀门(小循环);8—热洗阀门;9—掺水阀门(大循环);10—单流阀;11—掺水调节阀;12—生产闸阀门;13—油压表;14—光杆密封段;15—套压表;16—套管出液阀
2.地面驱动螺杆泵抽油装置
20世纪70年代后期,螺杆泵开始应用于原油开采。螺杆泵是一种容积式泵,按驱动形式可分为地面驱动螺杆泵和井下驱动螺杆泵。
地面驱动螺杆泵设备如图5-7所示。它是由地面驱动系统、抽油杆柱、抽油杆柱扶正器、螺杆泵等部分组成。其工作原理是:螺杆泵是靠空腔排油(即转子与定子间形成的一个个互不连通的封闭腔室),当转子转动时,封闭空腔沿轴线方向由吸入端向排出端方向运移。封闭腔在排出端消失,空腔内的原油也就随之由吸入端均匀地挤到排出端,同时又在吸入端重新形成新的低压空腔将原油吸入。这样,封闭空腔不断地形成、运移和消失,原油便不断地充满、挤压和排出,从而把井中的原油不断地吸入,通过油管举升到井口。

图5-7 螺杆泵采油示意图
1—电控箱;2—电动机;3—皮带;4—减速箱;5—方卡子;6—专用井口;7—套压表;8—抽油杆;9—油管;10—抽油杆扶正器;11、16—油管扶正器;12—定子;13—转子;14—定位销;15—油管防脱装置;17—筛管;18—套管;19—丝堵
螺杆泵采油装置结构简单,占地面积小,有利于海上平台和丛式井组采油;只有一个运动件(转子),适合稠油井和出砂井应用;排量均匀,无脉动排油特征;阀内无阀件和复杂的流道,水力损失小;泵实际扬程受液体黏度影响大,黏度上升,泵扬程下降较大。
(二)无杆泵采油
无杆泵采油包括气举采油、电动潜油离心泵采油、井下驱动螺杆泵采油、水力活塞泵采油和射流泵采油。
1.气举采油
当油气能量不足以维持油井自喷时,为使油井继续出油,人为地将气体(天然气或空气)压入井底,利用气体的膨胀能量将原油升举到地面,这种采油方法称为气举采油法。气举方式有环形空间进气方式和中心进气方式两种。
气举采油法的井口、井下设备比较简单,管理调节与自喷井一样方便。
1)气举原理
以环形空间进气方式为例。油井停产时,油管、套管内的液面在同一个位置上。开动压风机向油套环形空间注入压缩气体(空气或天然气),环形空间液面被挤压向下(如果不考虑液体被挤进油层,则环形空间内的液体全部进入油管),油管内液面上升,当环形空间的液面下降到管鞋时,压风机达到最大压力,称为气举启动压力。当压缩气进入油管后,油管内原油混气,液面不断升高,直至喷出地面。
在开始喷出之前,井底压力总是大于油层压力。喷出之后,由于环形空间继续压入气体,油管内混气液体不断喷出,使混气液体的密度也越来越小,管鞋压力急剧下降。当井底压力低于油层压力时,原油便从油层流入井底。由于油层出油,使油管内混气液体的重度稍有增加,因而使压缩机的压力又有所上升,经过一段时间后趋于稳定,稳定后的压风机压力称为气举工作压力。这时,油层连续不断地稳定出油,井口连续不断地生产。
2)气举方式
气举方式有两种:
(1)环形空间进气方式。该气举方式也称反举。它是指压缩气体从油套环形空间注入,原油从油管中举出。
(2)中心进气方式。它与环形空间进气方式正好相反,即从油管注气,原油从油套环形空间返出。该气举方式也称正举。
当油中含蜡、含砂时,如采用中心进气,因油流在环形空间流速低,砂子易沉降下来,同时在管子外壁的蜡也难清除,所以在实际工作中,多采用环形空间进气方式。
3)气举采油的特点
气举采油的优点:井下设备一次性投资低,维修工作量小;井下无摩擦件,适宜于含砂、蜡、水的井;不受开采液体中腐蚀性物质和高温的影响;易于在斜井、拐弯井、海上平台使用;易于集中管理和控制。缺点:气举采油必须有充足的气源;如在高压下连续气举工作,安全性较差;套管损坏了的高产井、结蜡井和稠油井不宜采用气举;小油田和单井使用气举采油效果较差。

图5-8 潜油电泵井装置示意图
2.电动潜油离心泵采油
电动潜油离心泵(简称潜油电泵或电泵)属于无杆泵抽油设备。它是用油管把离心泵和潜油电动机下入井中,用潜油电动机带动离心泵把油举升到地面。电泵的排量及扬程调节范围大,适应性强,地面工艺流程简单,管理方便,容易实现自动化,经济效益高。
电泵设备由地面、中间和井下三大部分组成,如图5-8所示。
地面部分由变压器、接线盒、控制柜(配电盘)、电缆及井口装置等组成,主要起控制、保护、记录的作用。
中间部分主要是电缆,有动力电缆和引线电缆。动力电缆将地面电流传送到井下引线电缆;而引线电缆的作用是连接动力电缆和电动机。
井下部分一般自上而下依次是泄油阀、单流阀和井下机组。井下机组包括多级离心泵、油气分离器、保护器和潜油电动机。有的电泵井潜油电动机下部还装有监测装置,可测定井底压力、温度、电动机绝缘程度、液面升降情况,并将信号传送给地面控制台。
潜油电动机安装在井下机组的最下部,是电泵的动力。地面的高压电流经电缆传输给潜油电动机。潜油电动机把电能变为机械能输出,通过轴带动电泵工作。保护器安装在潜油电动机的上部,起平衡电动机中的压力,润滑、密封电动机的作用。油气分离器通常安装在保护器的上端、多级离心泵的下端,用来分离原油中的游离气体,提高泵效。多级离心泵由固定部分和转动部分组成。转动部分有泵轴,轴上安装有大量叶轮。当电动机带动泵轴上的叶轮高速旋转时,充满在叶轮内的液体在离心力的作用下,被甩向叶轮的四周,给井液加速,使井液具有动能,并由导壳引入次一级叶轮,这样逐级叠加后就获得一定扬程,并将井液举升到地面。
电泵机组的工作过程可简单地叙述为:地面电源通过潜油电泵专用电缆输入给井下的潜油电动机,潜油电动机就带动多级离心泵旋转,通过离心泵多级叶轮的旋转离心作用,将井底原油举升抽汲到地面。
实践表明,对于强水淹井、高产井、不同深度井以及定向井、多砂和多蜡井,电泵的使用效果都很好。其排量范围为16~14310m3/d;最大下泵深度可达4600m,井下最高工作温度可达230℃。
3.井下驱动螺杆泵采油
与地面驱动螺杆泵不同的是,井下驱动螺杆泵动力置于井底,不用抽油杆。其工作原理是:用油管将泵与电动机、保护器下入井内液面以下,电动机通过偏心联轴节带动螺杆转动,而螺杆又是装在衬套中,螺杆与衬套所形成的腔室之间是隔离的,当螺杆转动时,这些腔室逐渐由下而上运动,使液体压力不断提高,从而将井液送到地面。
就目前的情况来看,地面驱动螺杆泵从技术上比较成熟;井下驱动螺杆泵有很多优点,但还处于实验阶段。
4.水力活塞泵采油
水力活塞泵是一种液压传动的无杆泵抽油装置,是液压传动在抽油设备上的应用。与有杆泵相比,其根本特点是改变了能量的传递方式。水力活塞泵由地面、中间和井下三大部分组成,如图5-9所示。

图5-9 开式水力活塞泵采油系统
1—高压控制管汇;2—地面动力泵;3—发动机;4—动力液处理罐;5—井口装置;6—井下泵工作筒;7—沉没泵
地面部分包括动力液处理罐、发动机、地面动力泵、高压控制管汇、阀组及井口装置,担负提供动力的任务。
中间部分是动力液由地面到井下机组的中心油管,乏动力液和产出液排至地面的专门通道。
井下部分由工作筒和沉没泵等组成,起抽油的主要作用。
水力活塞泵的工作原理是:电动机带动地面动力泵,从储液罐来的液体经动力泵升压后进入中心油管,高压动力液体进入井下的水力活塞泵后,带动泵工作,抽汲的液体和做功后的动力液共同经外层油管返回地面。
水力活塞泵排量范围较大(16~1600m3/d),对油层深度、含蜡、稠油、斜井及水平井具有较强的适应性,可用于各种条件的油井开采,并可在温度相对较高的井内工作。但机组结构复杂,加工精度要求高,动力液计量困难。

图5-10 射流泵工作原理图
5.射流泵采油装置
射流泵分为地面部分、中间部分和井下部分。其中地面部分和中间部分与水力活塞泵相同,所不同的是水力喷射泵只能安装成开式动力液循环系统。井下部分是射流泵,由喷嘴、喉管和扩散管三部分组成,如图5-10所示。
射流泵的工作原理:动力液从油管注入,经射流泵的上部流至喷嘴喷出,进入与地层液相连通的混合室。在喷嘴处,动力液的总压头几乎全部变为速度水头。进入混合室的原油则被动力液抽汲,与动力液混合后流入喉管,在喉管内进行动量和动能转换,然后通过断面逐渐扩大的扩散管,使速度水头转换为压力水头,从而将混合液举升到地面。
射流泵的特点:井下设备没有动力件;射流泵可坐入与水力活塞泵相同的工作筒内;不受举升高度的限制;适于高产液井;初期投资高;腐蚀和磨损会使喷嘴损坏;地面设备维修费用相当高。
